Description
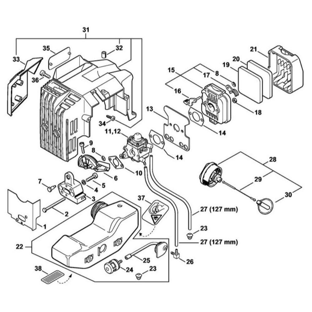
The air filter and fuel tank assembly for the Stihl HS 85 Hedge Trimmer ensures optimal performance and longevity. The air filter maintains clean airflow, protecting the engine from dust and debris. The fuel tank is designed for efficient fuel storage and delivery. These components are essential for maintaining the trimmer's reliability and efficiency.
Reviews
Add a review
Write Your Own Review
Ask a Question
Customer Questions

