Description
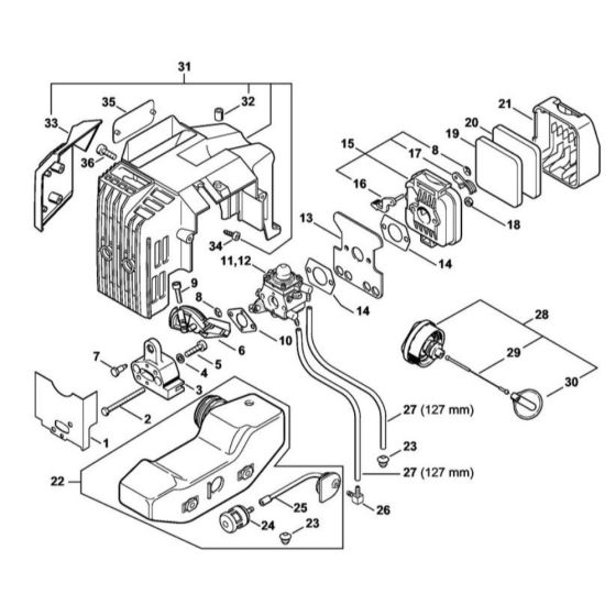
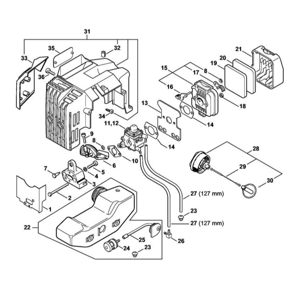
The Air Filter and Fuel Tank for the Stihl HS 80 Hedge Trimmer are essential components for maintaining optimal performance. The air filter ensures clean airflow, protecting the engine from dust and debris, while the fuel tank stores the necessary fuel for operation. These genuine Stihl parts are designed for durability and reliability, ensuring your hedge trimmer runs smoothly.
Reviews
Add a review
Write Your Own Review
Ask a Question
Customer Questions

