Description
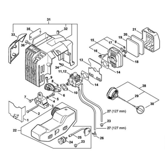
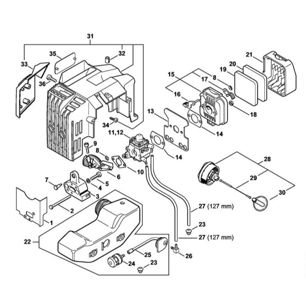
The air filter and fuel tank for the Stihl HS 85 Hedge Trimmer are essential components for maintaining optimal performance. The air filter ensures clean airflow, protecting the engine from dust and debris, while the fuel tank stores the necessary fuel for operation. These genuine Stihl parts are designed for reliability and durability.
Reviews
Add a review
Write Your Own Review
Ask a Question
Customer Questions

