Description
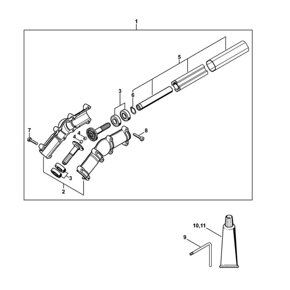
The Angle Drive Assembly for the Stihl HTA 160 Pole Pruner is designed to ensure efficient power transfer and precise cutting performance. This assembly includes key components such as gears, shafts, and bearings, which work together to maintain the pruner's functionality. Essential for routine maintenance, it helps extend the lifespan of your equipment.
Reviews
Add a review
Write Your Own Review
Ask a Question
Customer Questions

