Description
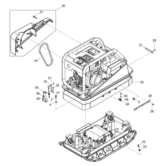
The Belt, Guard Assembly for the Wacker DPU40 Plate Compactor includes essential components to ensure optimal performance and safety. This assembly helps protect the belt and other moving parts from debris and damage, extending the machine's lifespan. Genuine Wacker Neuson parts ensure compatibility and reliability.
Reviews
Add a review
Write Your Own Review
Ask a Question
Customer Questions

