Description
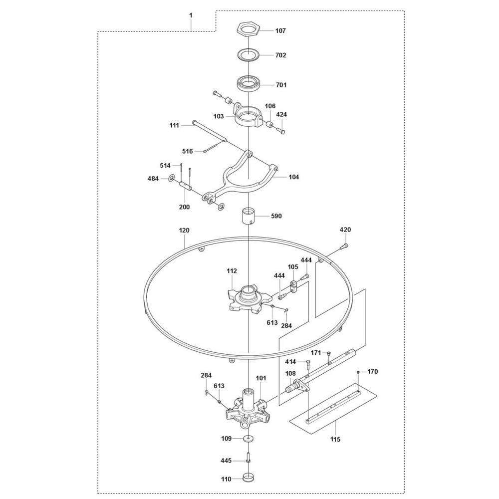
The Blade Assembly for the Husqvarna CRT 48 Diesel Trowel is designed to ensure optimal performance and longevity of your ride-on trowel. This genuine Husqvarna part includes essential components such as blades, fasteners, and brackets, which work together to provide smooth and efficient operation. Regular maintenance with these parts helps maintain the machine's reliability and effectiveness.
Reviews
Add a review
Write Your Own Review
Ask a Question
Customer Questions

