Description
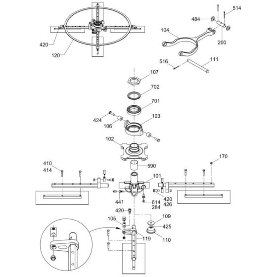
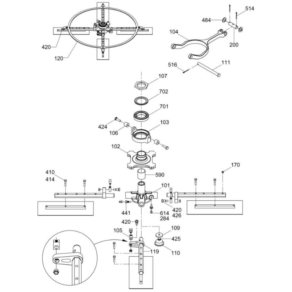
The Blade Mechanism Assembly for the Wacker CRT 48-25 Trowel is crucial for maintaining optimal performance in concrete finishing tasks. This assembly includes components such as blades, springs, and levers, ensuring smooth operation and precise control. Designed for the Wacker Neuson Ride-On Trowel, it supports efficient and reliable concrete surface finishing.
Reviews
Add a review
Write Your Own Review
Ask a Question
Customer Questions

