Description
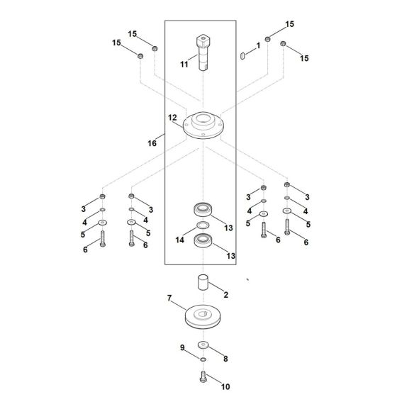
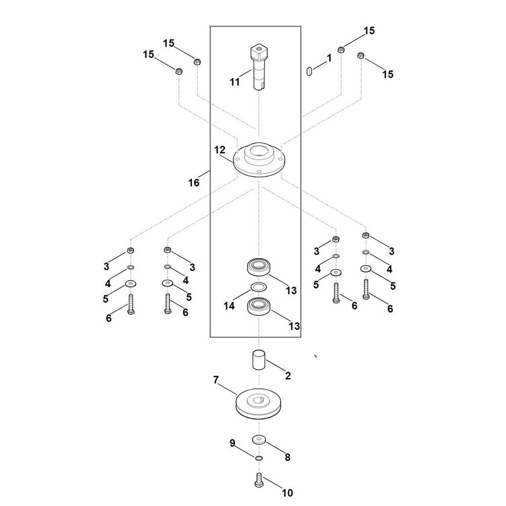
The blade wheel for the Stihl GH 370.0 S Shredder is a crucial component designed to ensure efficient shredding performance. This genuine Stihl part is engineered to maintain optimal cutting action, helping to process garden waste effectively. Regular replacement of the blade wheel can enhance the longevity and functionality of your shredder.
Reviews
Add a review
Write Your Own Review
Ask a Question
Customer Questions

