Description
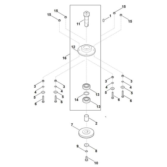
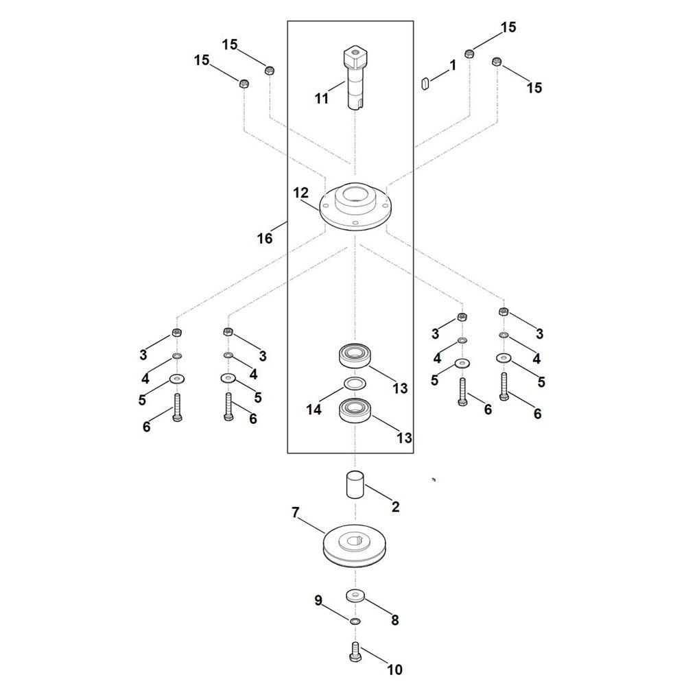
The blade wheel for the Stihl GH 370.1 S Shredder is a crucial component designed to ensure efficient shredding performance. This genuine Stihl part is engineered to maintain the machine's cutting effectiveness, handling various garden debris with ease. Regular replacement of the blade wheel helps sustain optimal operation and prolongs the shredder's lifespan.
Reviews
Add a review
Write Your Own Review
Ask a Question
Customer Questions

