Description
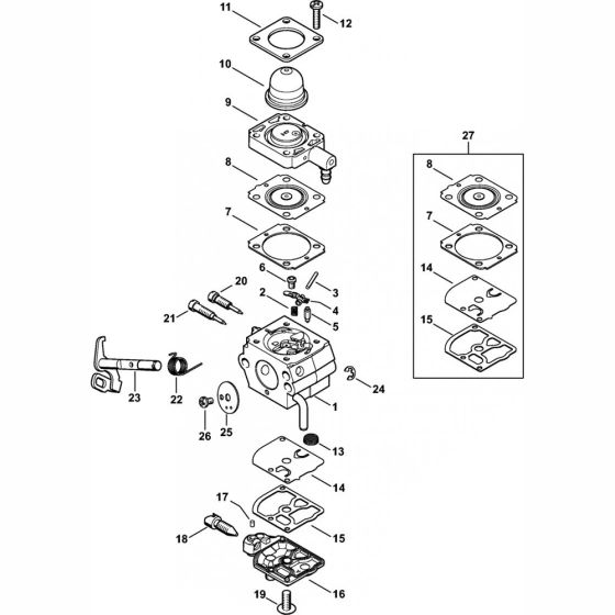
The Carburetor Assembly for the Stihl FR230 Backpack Brushcutter is crucial for optimal engine performance. It ensures efficient fuel mixing and delivery, enhancing the brushcutter's reliability. This assembly includes components like gaskets, springs, and levers, designed to maintain the machine's functionality. Suitable for routine maintenance and repairs, it helps in achieving consistent performance and longevity.
Reviews
Add a review
Write Your Own Review
Ask a Question
Customer Questions

