Description
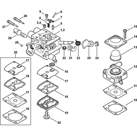
The Carburetor Assembly for Stihl FR410C and FR460TC Backpack Brushcutters is essential for optimal engine performance. It ensures efficient fuel mixing and delivery, contributing to smooth operation and reduced emissions. This assembly includes components like gaskets, springs, and levers, available in both genuine and non-genuine options to suit maintenance needs.
Reviews
Add a review
Write Your Own Review
Ask a Question
Customer Questions

