Description
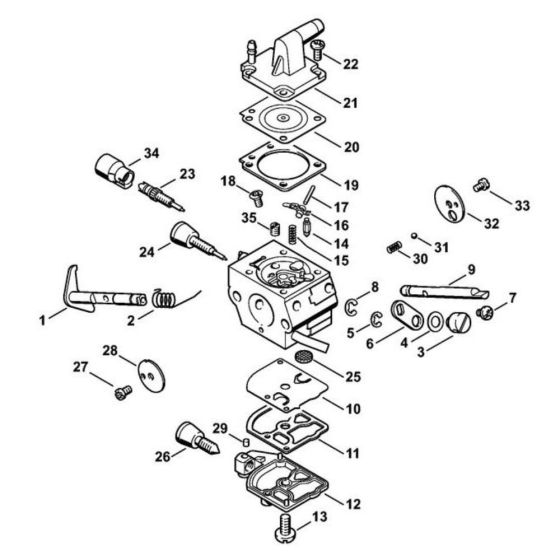
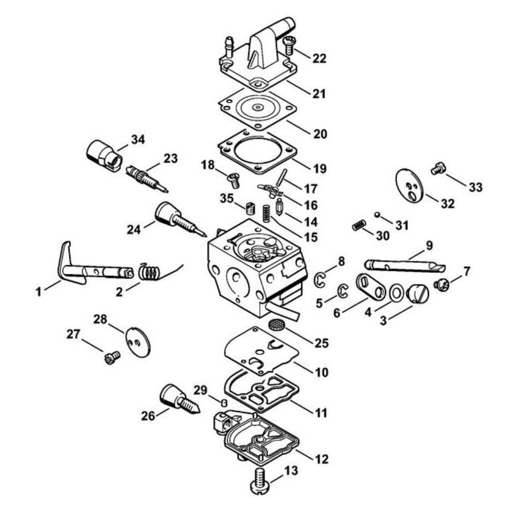
The Carburetor C1Q-S154 Assembly is designed for Stihl SP 481 special-purpose units, ensuring optimal fuel-air mixture for efficient engine performance. This genuine Stihl part includes components like gaskets, springs, and levers, crucial for maintaining engine reliability and longevity. Regular maintenance with this assembly helps prevent engine wear and ensures smooth operation.
Reviews
Add a review
Write Your Own Review
Ask a Question
Customer Questions

