Description
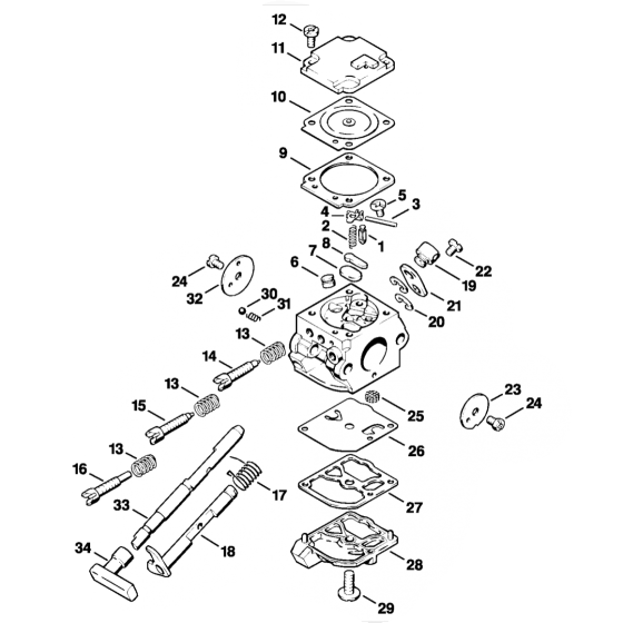
The Carburetor C1Q-SK6 Assembly for the Stihl BR106 Blower is essential for maintaining optimal engine performance. This assembly ensures efficient fuel mixing and delivery, contributing to reliable operation. Components may include gaskets, diaphragms, and springs, each playing a crucial role in the blower's functionality. Available in genuine and non-genuine parts.
Reviews
Add a review
Write Your Own Review
Ask a Question
Customer Questions

