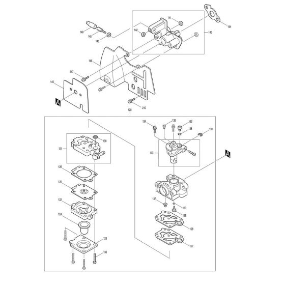
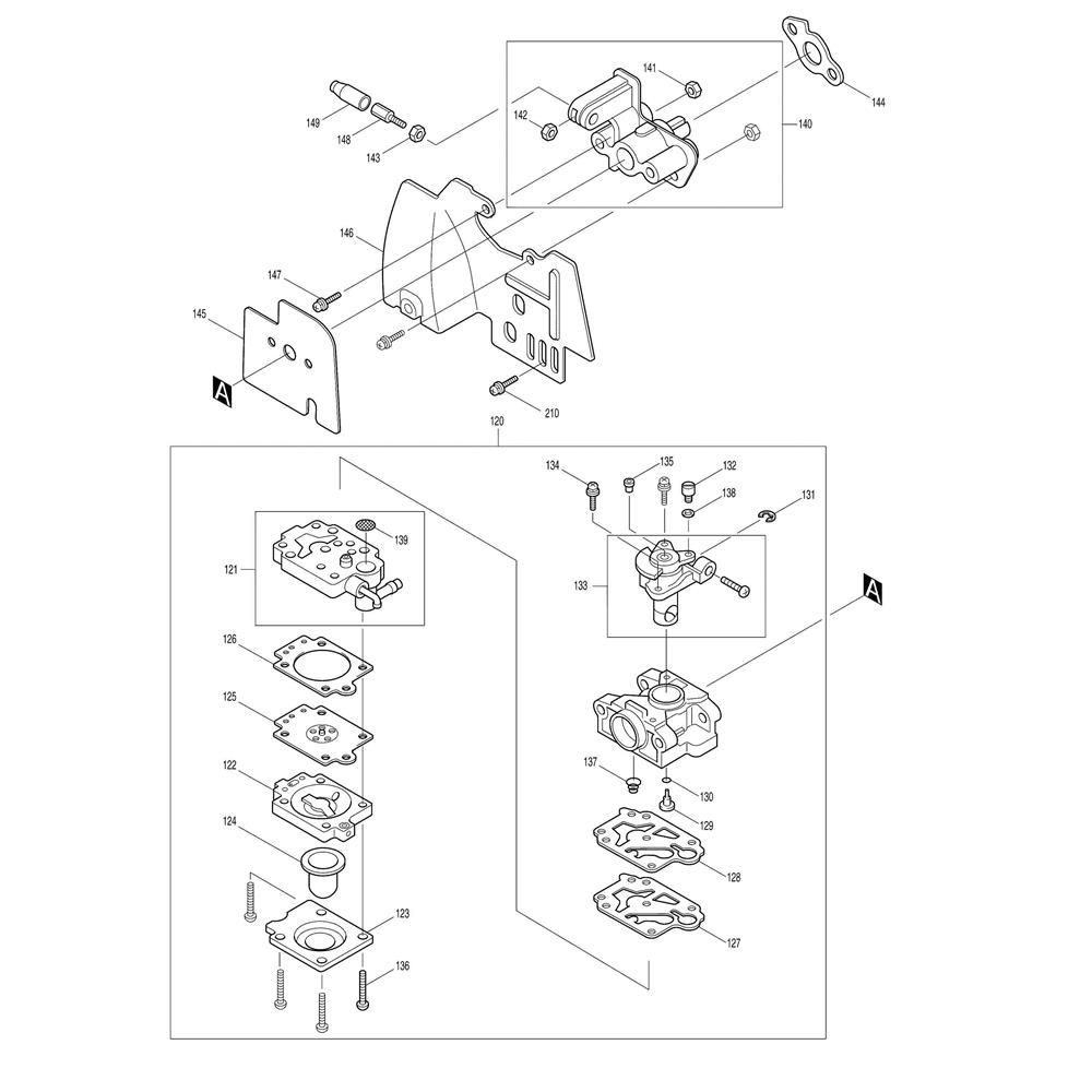
Description
The Carburettor Assembly for the Makita EM4251 Brushcutter is designed to ensure optimal fuel mixing and engine performance. This assembly includes key components such as gaskets, springs, and levers, which are crucial for maintaining the brushcutter's efficiency and reliability. Genuine Makita parts ensure compatibility and durability, supporting routine maintenance and repairs.
Reviews
Add a review
Write Your Own Review
Ask a Question
Customer Questions

