Description
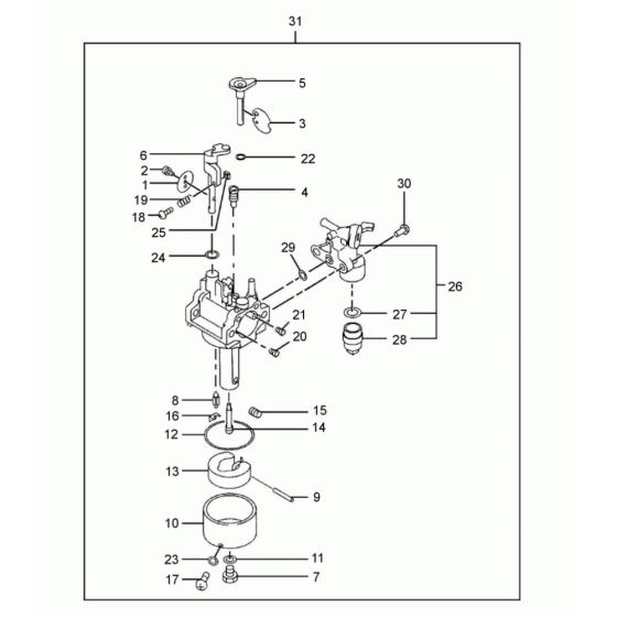
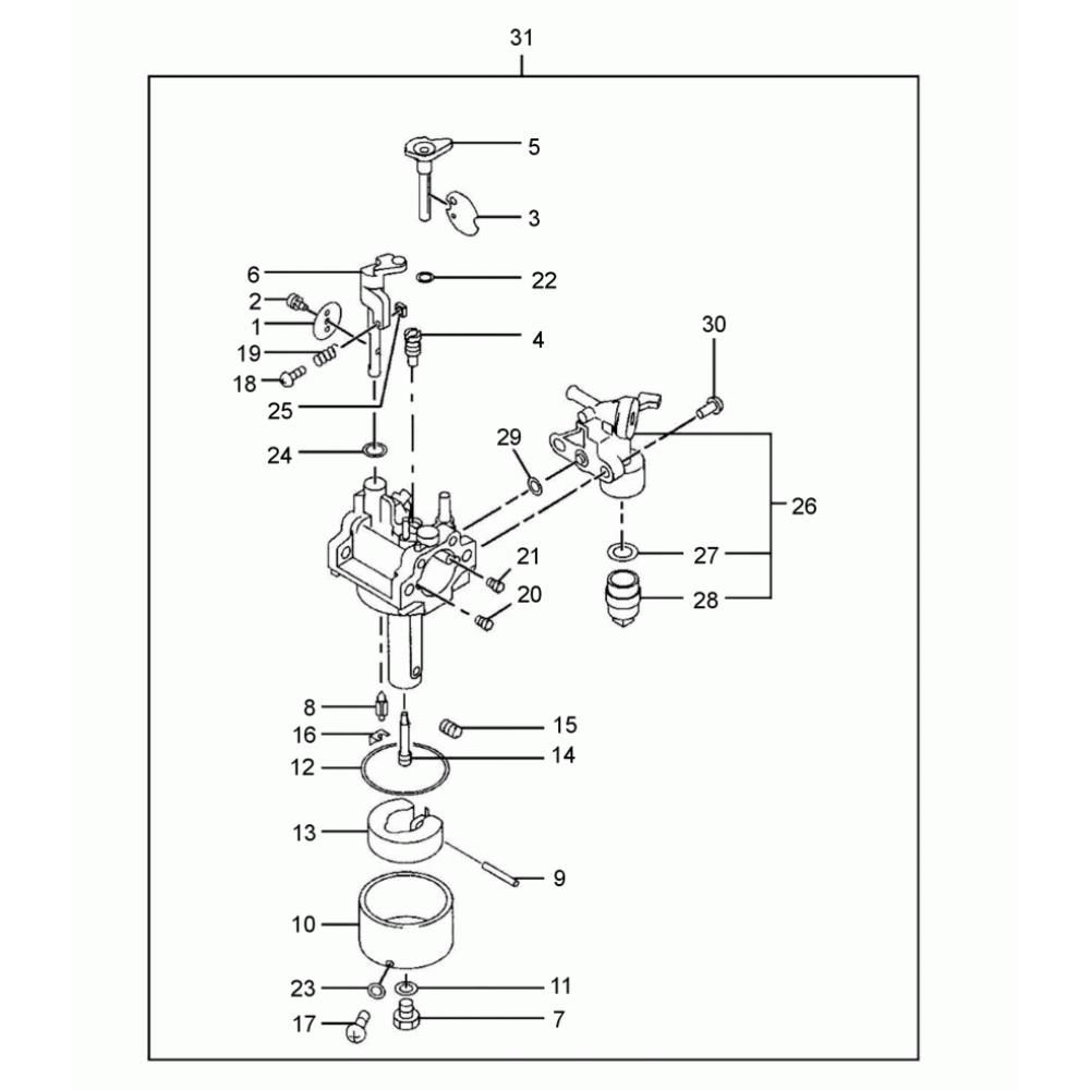
The Carburettor Assembly for the Wacker VP1340R Compactor is crucial for optimal engine performance. It ensures efficient fuel mixing and delivery, enhancing the machine's reliability. This assembly includes components like gaskets, springs, and levers, designed to maintain the compactor's functionality. Genuine Wacker Neuson parts ensure compatibility and durability.
Reviews
Add a review
Write Your Own Review
Ask a Question
Customer Questions

