Description
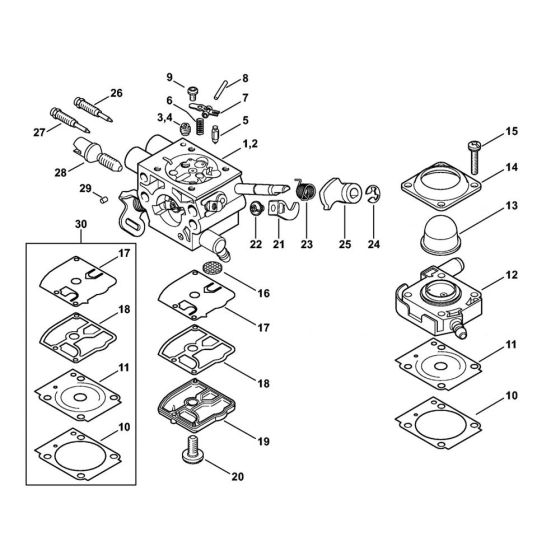
The Carburettor type 2 Assembly for the Stihl FS360C and FS410C Clearing Saw includes essential components for optimal engine performance. This assembly ensures efficient fuel mixing and delivery, crucial for maintaining power and reliability. Available parts may include gaskets, diaphragms, and adjustment screws, suitable for both genuine and non-genuine replacements.
Reviews
Add a review
Write Your Own Review
Ask a Question
Customer Questions

