Description
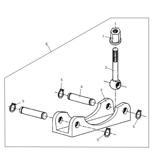
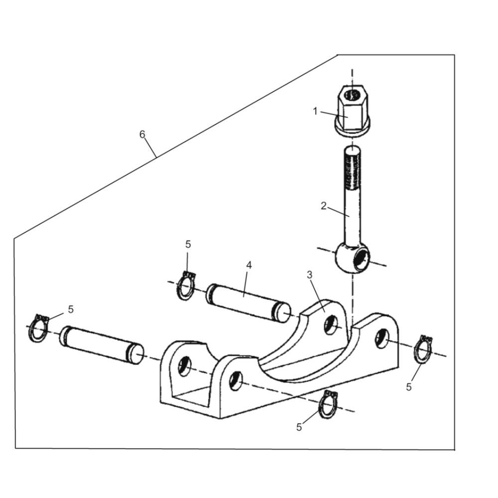
The Clamp Assembly for the Wacker PAR 45/2 Pneumatic Vibrator is designed to secure and stabilise the vibrator during operation. This assembly includes components such as clamps, fasteners, and brackets, ensuring optimal performance and safety. Genuine Wacker Neuson parts guarantee compatibility and reliability, making it suitable for maintaining and repairing your equipment.
Reviews
Add a review
Write Your Own Review
Ask a Question
Customer Questions

