Description
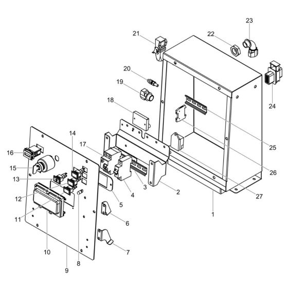
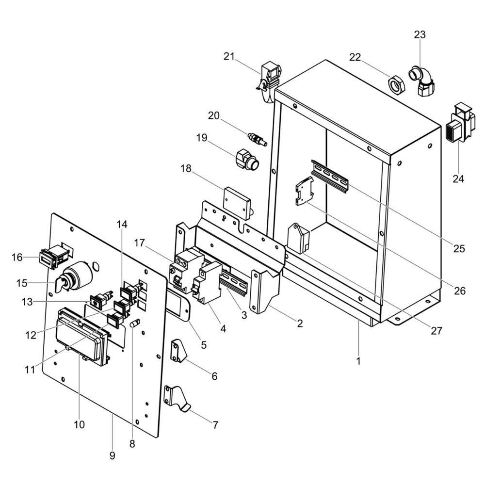
The Control Panel Assembly for the Wacker LTS8K Lighting Tower is designed to ensure efficient operation and control of the lighting system. This assembly includes key components such as switches, circuit breakers, and connectors, which are essential for managing power distribution and system functionality. Genuine Wacker Neuson parts ensure compatibility and reliability.
Reviews
Add a review
Write Your Own Review
Ask a Question
Customer Questions

