Description
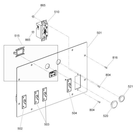
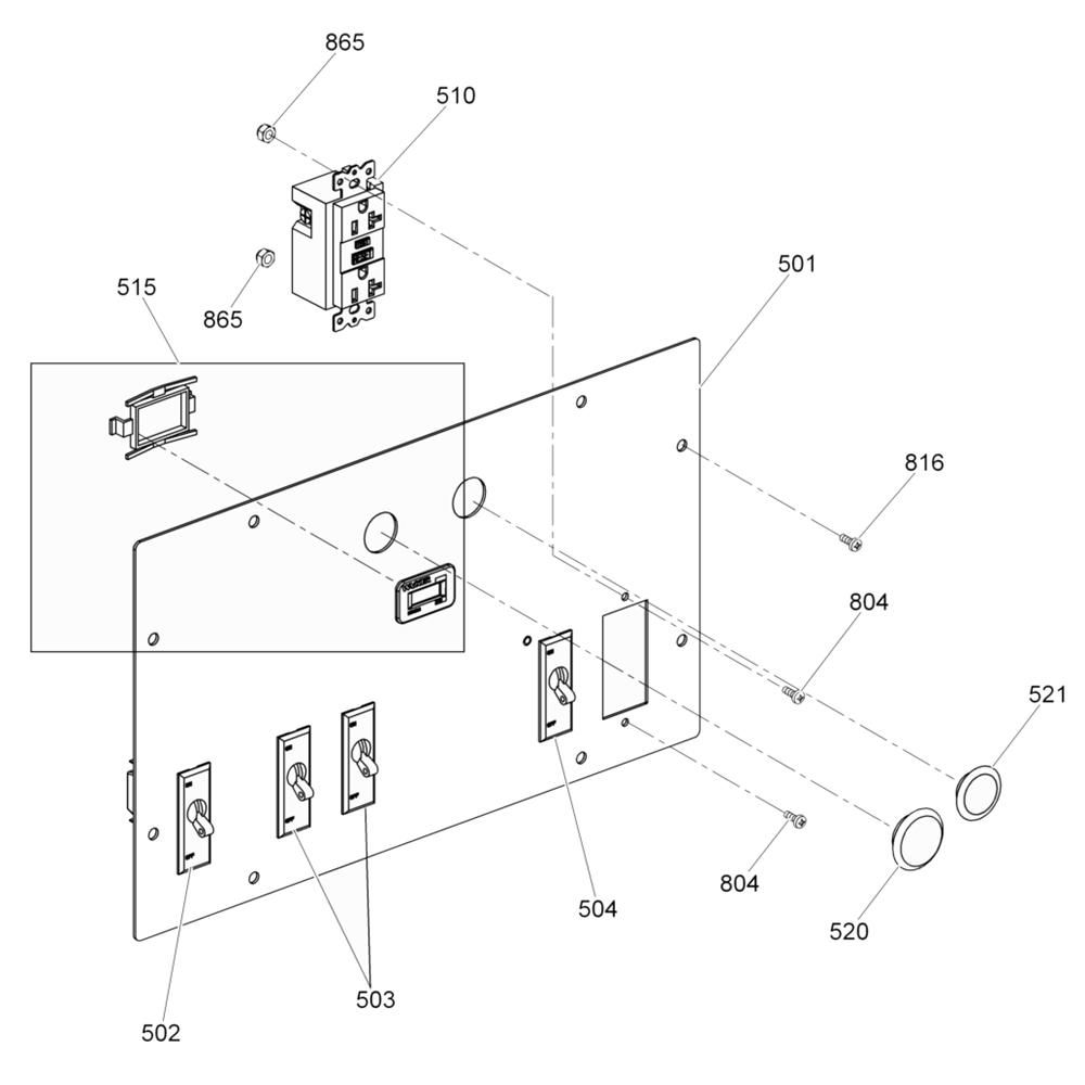
The Control Panel Assembly for the Wacker LTC6L Lighting Tower includes essential components to ensure efficient operation and control. This assembly is crucial for managing the lighting tower's functions, providing reliable performance in various conditions. Components may include switches, circuit boards, and connectors, designed to maintain optimal functionality.
Reviews
Add a review
Write Your Own Review
Ask a Question
Customer Questions

