Description
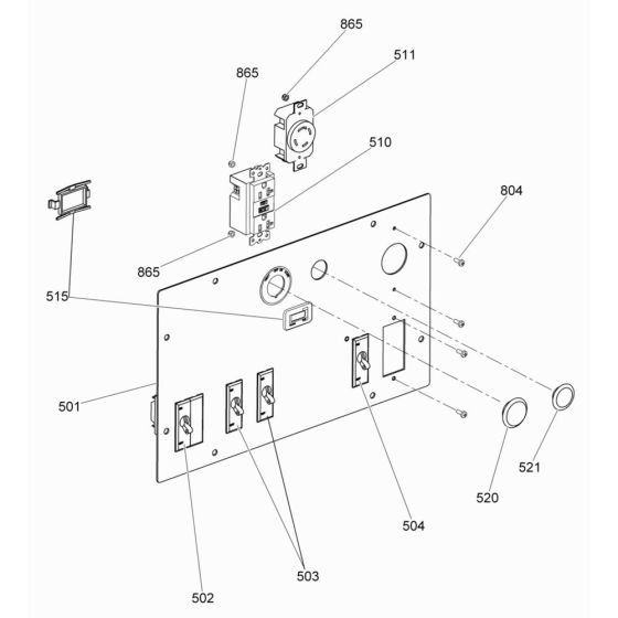
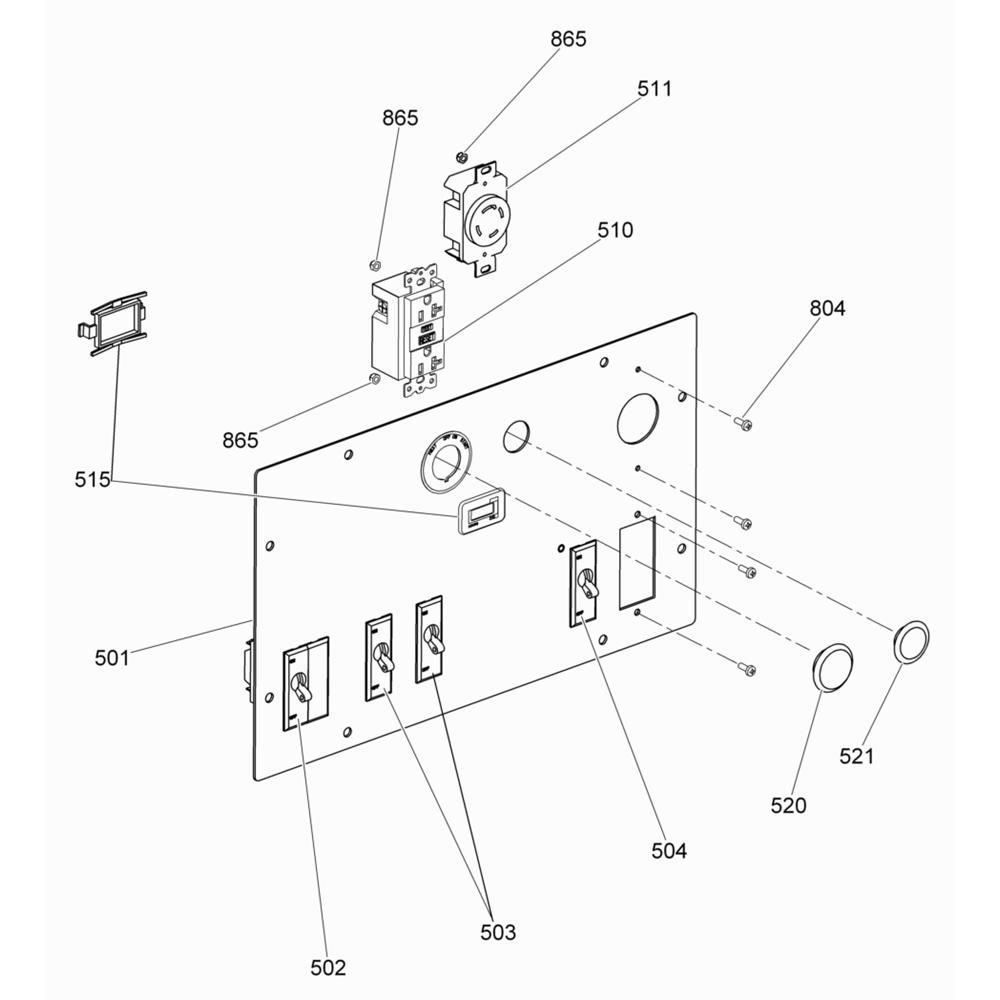
The Control Panel Assembly for the Wacker LTN6L Lighting Tower includes essential components for managing and operating the light tower effectively. Designed to ensure optimal performance, it features parts such as switches, circuit breakers, and connectors. This assembly helps maintain the tower's functionality and reliability in various lighting applications.
Reviews
Add a review
Write Your Own Review
Ask a Question
Customer Questions

