Description
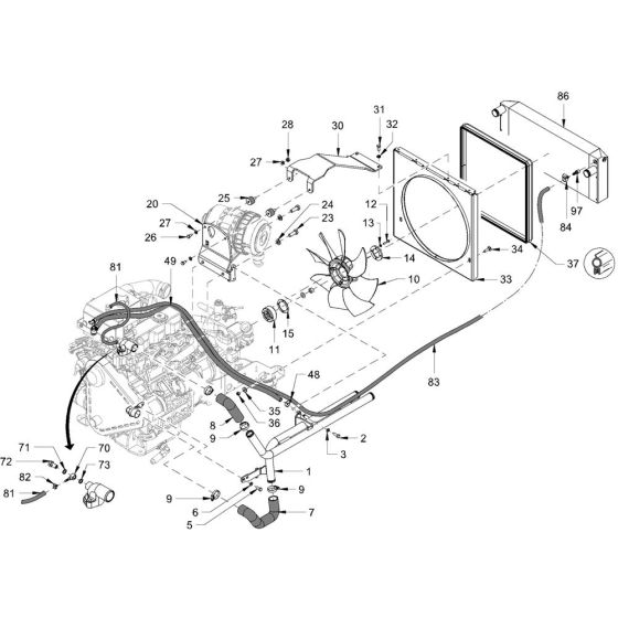
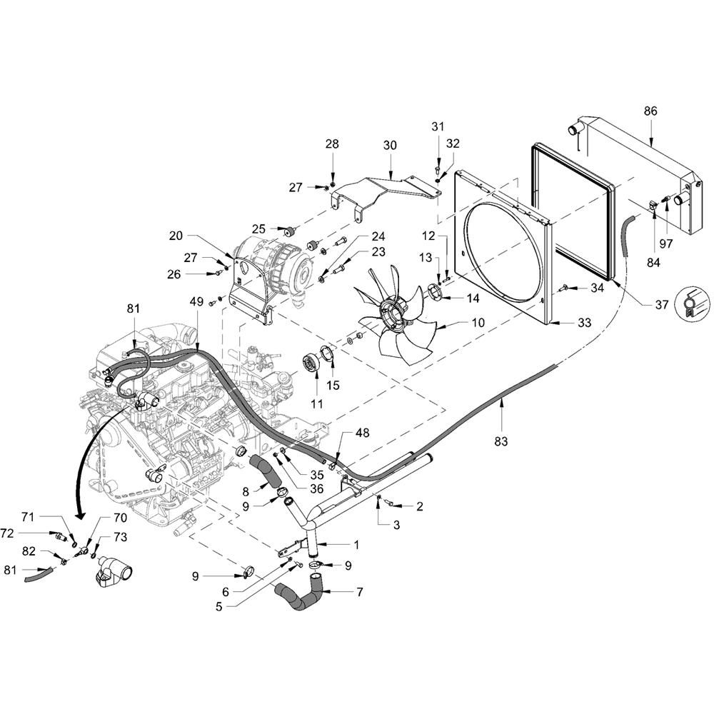
Cooling components for Hamm HD10-12 (H262) Rollers are essential for maintaining optimal engine and hydraulic oil temperatures. These parts ensure efficient heat dissipation, preventing overheating and extending the machinery's lifespan. Options include genuine and non-genuine parts, catering to various maintenance needs and preferences.
Reviews
Add a review
Write Your Own Review
Ask a Question
Customer Questions

