Description
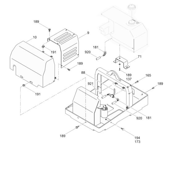
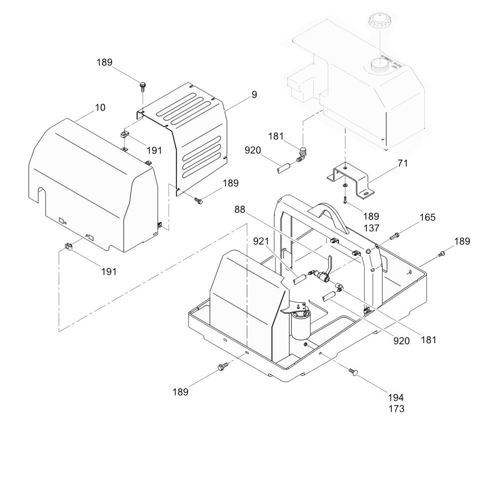
The Cover Assembly for the Wacker RD7 Roller includes essential components to protect and maintain the roller's performance. This assembly is crucial for safeguarding internal parts from dust and debris, ensuring the longevity and efficiency of the machine. Genuine Wacker Neuson parts are used, providing reliability and compatibility with the RD7 model.
Reviews
Add a review
Write Your Own Review
Ask a Question
Customer Questions

