Description
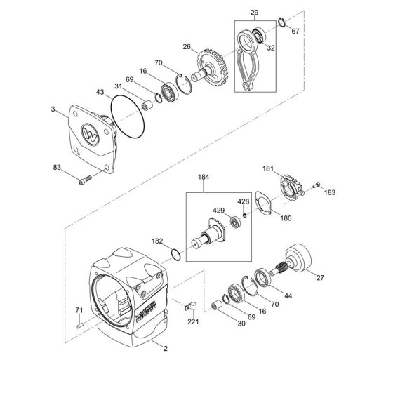
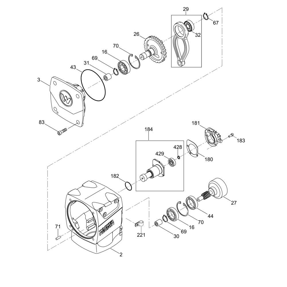
The Crankcase Assembly for the Wacker BS70-2i Trench Rammer is essential for housing and protecting the internal components of the engine. This assembly ensures optimal performance and longevity of the machine by maintaining proper alignment and support for moving parts. Genuine Wacker Neuson parts ensure compatibility and reliability in demanding trenching applications.
Reviews
Add a review
Write Your Own Review
Ask a Question
Customer Questions

