Description
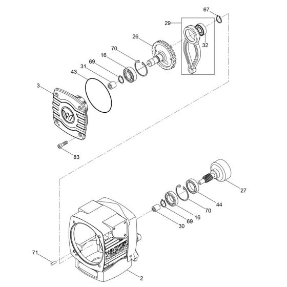
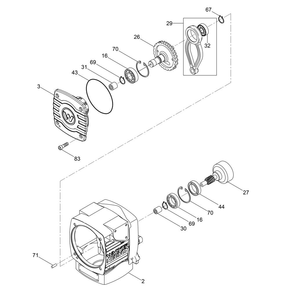
The Crankcase Assembly for the Wacker MS64 Trench Rammer is crucial for housing and protecting the internal components of the engine. This assembly ensures optimal performance by maintaining the integrity of the engine's moving parts. It includes essential elements such as gaskets, seals, and fasteners, designed to withstand the rigours of trench ramming operations.
Reviews
Add a review
Write Your Own Review
Ask a Question
Customer Questions

