Description
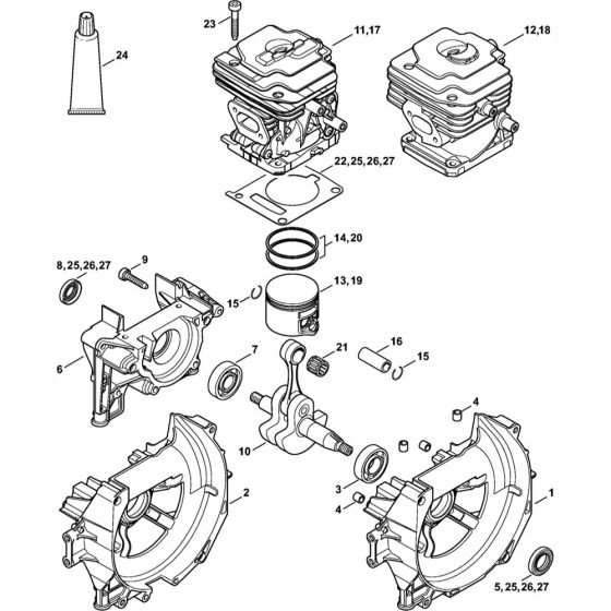
The Crankcase & Cylinder Assembly for Stihl FR410C and FR460TC Backpack Brushcutters is essential for maintaining engine integrity and performance. This assembly includes components such as the crankcase, cylinder, and associated seals, ensuring efficient operation. Designed for durability, it supports the engine's function by housing moving parts and facilitating proper combustion.
Reviews
Add a review
Write Your Own Review
Ask a Question
Customer Questions

