Description
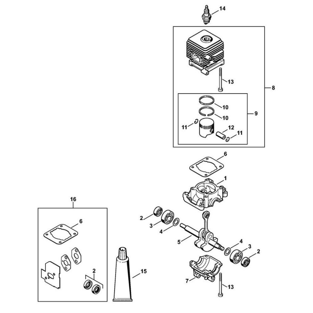
The crankcase and cylinder assembly for the Stihl BG 55 Leaf Blower is crucial for maintaining engine efficiency and performance. This assembly includes components like the cylinder, piston, and gaskets, ensuring optimal compression and power output. Available in both genuine and non-genuine parts, it supports regular maintenance and repair needs.
Reviews
Add a review
Write Your Own Review
Ask a Question
Customer Questions

