Description
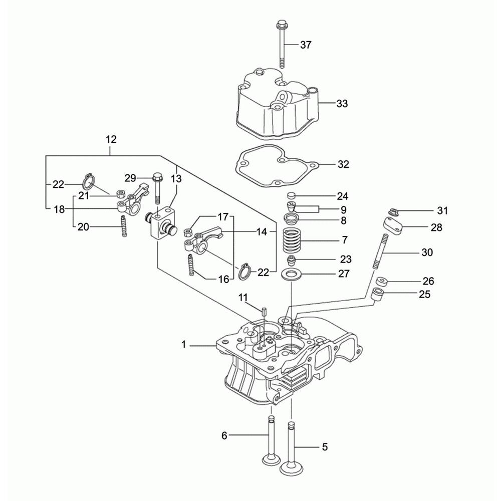
The Cylinder Head Assembly for the Wacker VP2050Y Compactor is crucial for optimal engine performance. This assembly includes components that ensure efficient compression and combustion, vital for the machine's operation. Genuine Wacker Neuson parts are used to maintain reliability and longevity. Available components may include valves, springs, and seals, designed to fit perfectly with the VP2050Y model.
Reviews
Add a review
Write Your Own Review
Ask a Question
Customer Questions

