Description
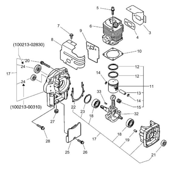
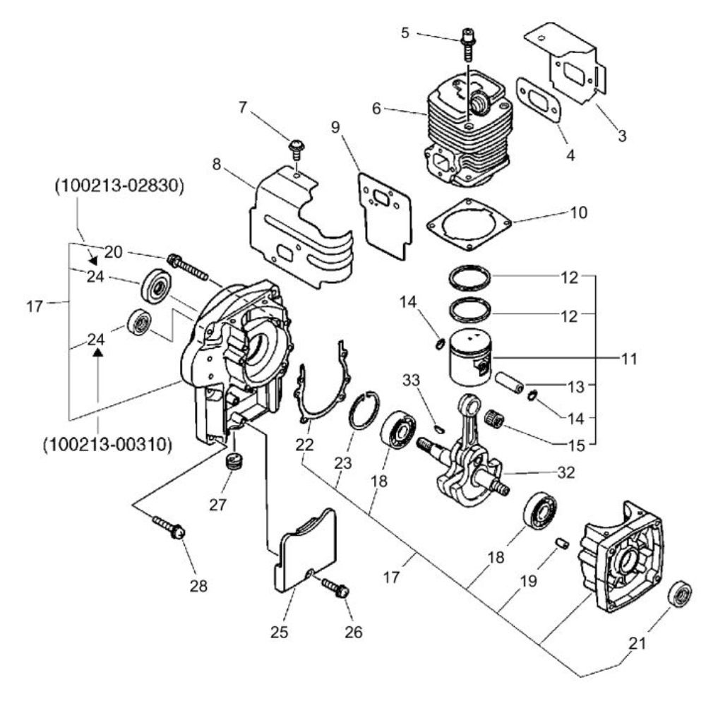
The Cylinder, Piston, and Crankcase assembly for the ECHO PB-6000 Backpack Blower ensures optimal engine performance and longevity. These components are crucial for maintaining compression and efficient operation. Available in both genuine and non-genuine options, they are designed to fit seamlessly and support the blower's functionality.
Reviews
Add a review
Write Your Own Review
Ask a Question
Customer Questions

