Description
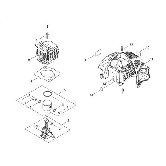
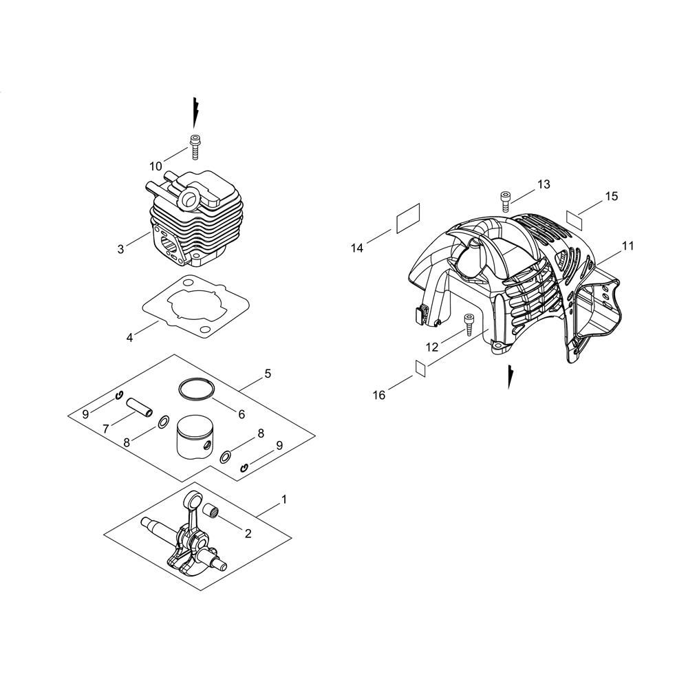
The Cylinder, Piston, and Crankshaft assembly for the ECHO SRM-236/U Brushcutter is crucial for maintaining engine efficiency and performance. This assembly includes key components that ensure smooth operation and power delivery. Options are available in both genuine and non-genuine parts, catering to different maintenance needs and preferences.
Reviews
Add a review
Write Your Own Review
Ask a Question
Customer Questions

