Description
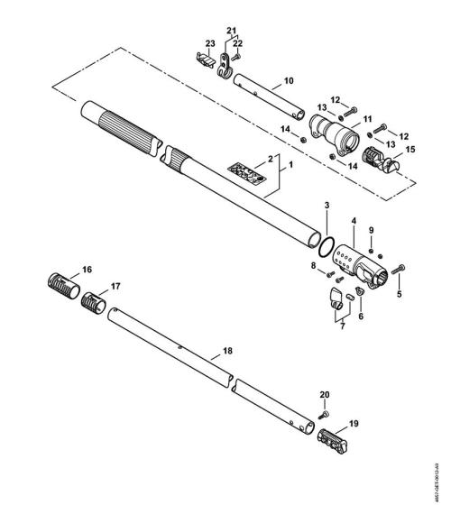
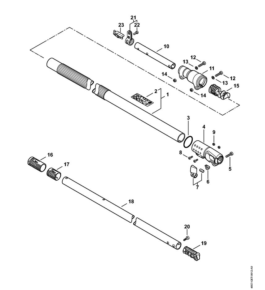
The Drive Tube Assembly for the Stihl HTA 85 Pole Pruner is essential for maintaining the tool's efficiency and performance. This assembly includes components that ensure smooth operation and precise cutting, such as tubes, connectors, and fasteners. Designed to fit the Stihl HTA 85 model, it supports the pruner's functionality by transmitting power effectively.
Reviews
Add a review
Write Your Own Review
Ask a Question
Customer Questions

