Description
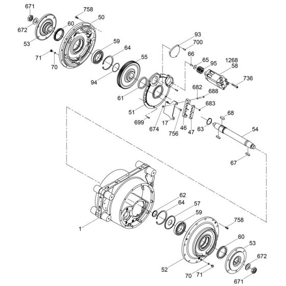
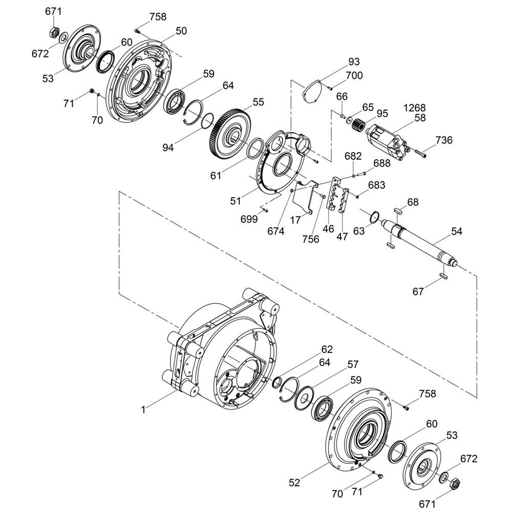
The Drum Drive Assembly for the Wacker RT56-SC2 Trench Roller is crucial for efficient operation and durability. This assembly includes components that ensure smooth drum rotation and effective soil compaction. Genuine Wacker Neuson parts are used to maintain performance and reliability, supporting the machine's heavy-duty tasks in construction environments.
Reviews
Add a review
Write Your Own Review
Ask a Question
Customer Questions

