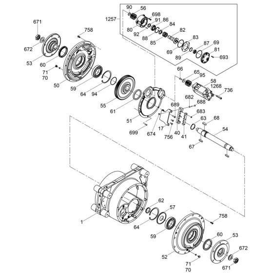
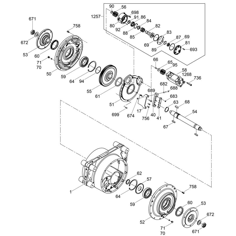
Description
The Drum Drive with Brake Assembly for the Wacker RT56-SC2 Trench Roller is essential for maintaining optimal performance and safety. This assembly includes components that ensure effective braking and smooth operation of the trench roller. Genuine Wacker Neuson parts are designed to fit perfectly, offering reliability and durability in demanding construction environments.
Reviews
Add a review
Write Your Own Review
Ask a Question
Customer Questions

