Description
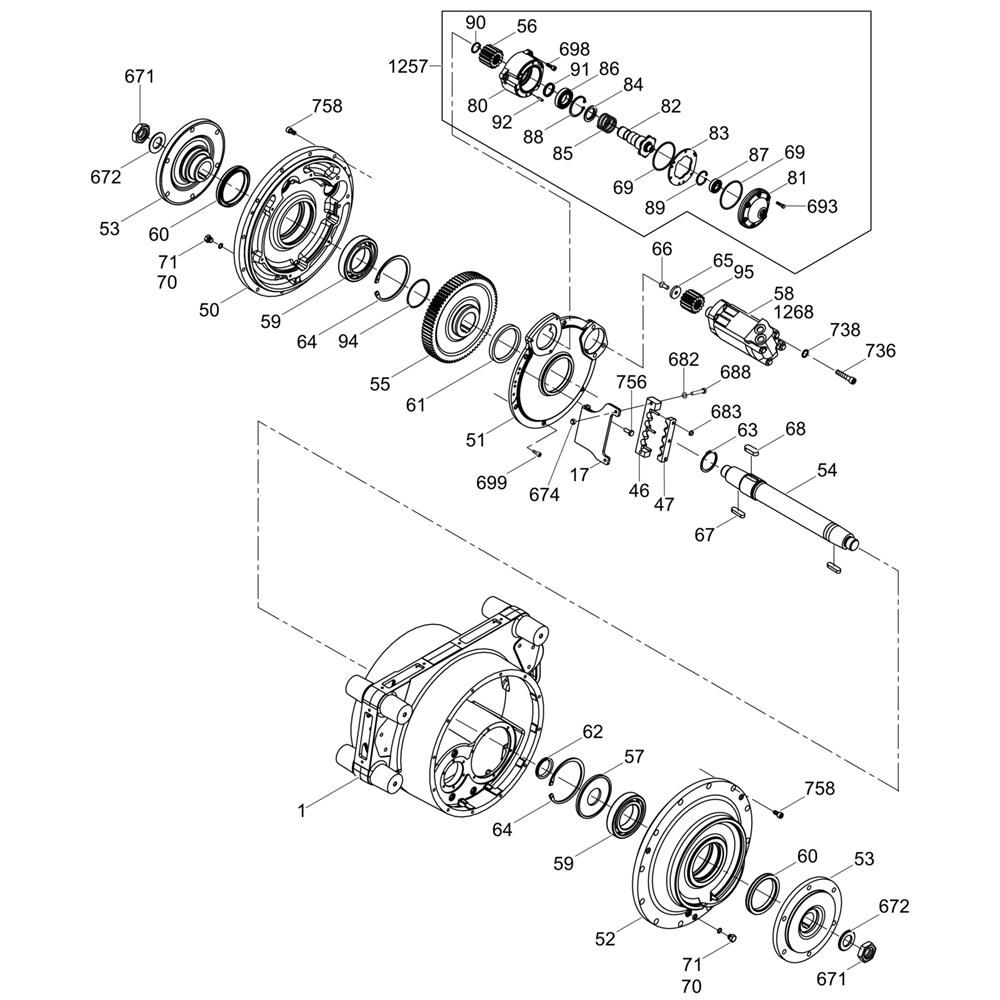
The Drum Drive with Brake Assembly for the Wacker RTKx-SC3 Trench Roller is essential for optimal machine performance. This assembly includes components that ensure effective braking and drive functionality, crucial for safe and efficient trenching operations. Genuine Wacker Neuson parts are designed for durability and reliability, maintaining the roller's operational integrity.
Reviews
Add a review
Write Your Own Review
Ask a Question
Customer Questions

