Description
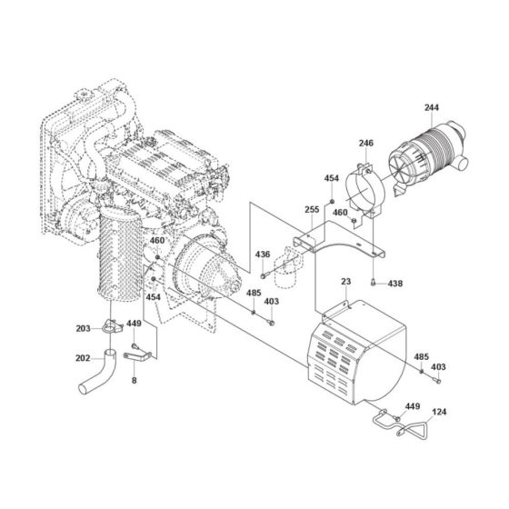
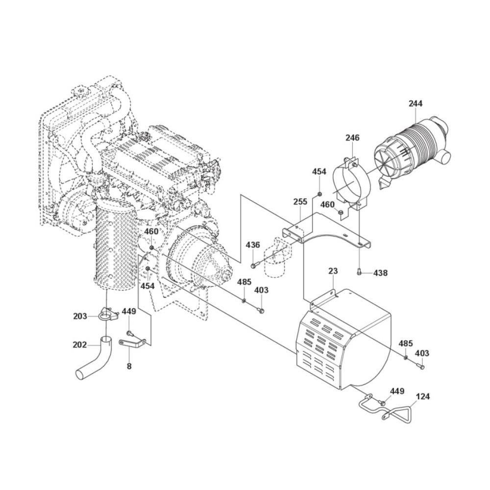
The Engine Compartment Assembly for the Husqvarna CRT 48 Diesel Trowel is designed to house and protect the engine components, ensuring optimal performance and longevity. This assembly includes various parts such as mounts, brackets, and covers, all essential for maintaining the integrity of the engine compartment. Suitable for routine maintenance and repairs, it helps in safeguarding the engine from external elements.
Reviews
Add a review
Write Your Own Review
Ask a Question
Customer Questions

