Description
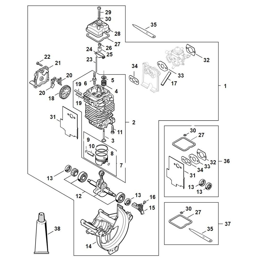
The Engine Ø 43 mm for the Stihl HT 135 Pole Pruner is a key component designed to deliver efficient power and performance. This genuine Stihl part ensures optimal operation and longevity of your pole pruner. The engine is crafted to meet the specific requirements of the HT 135 model, providing reliable and consistent cutting power for professional and domestic use.
Reviews
Add a review
Write Your Own Review
Ask a Question
Customer Questions

