Description
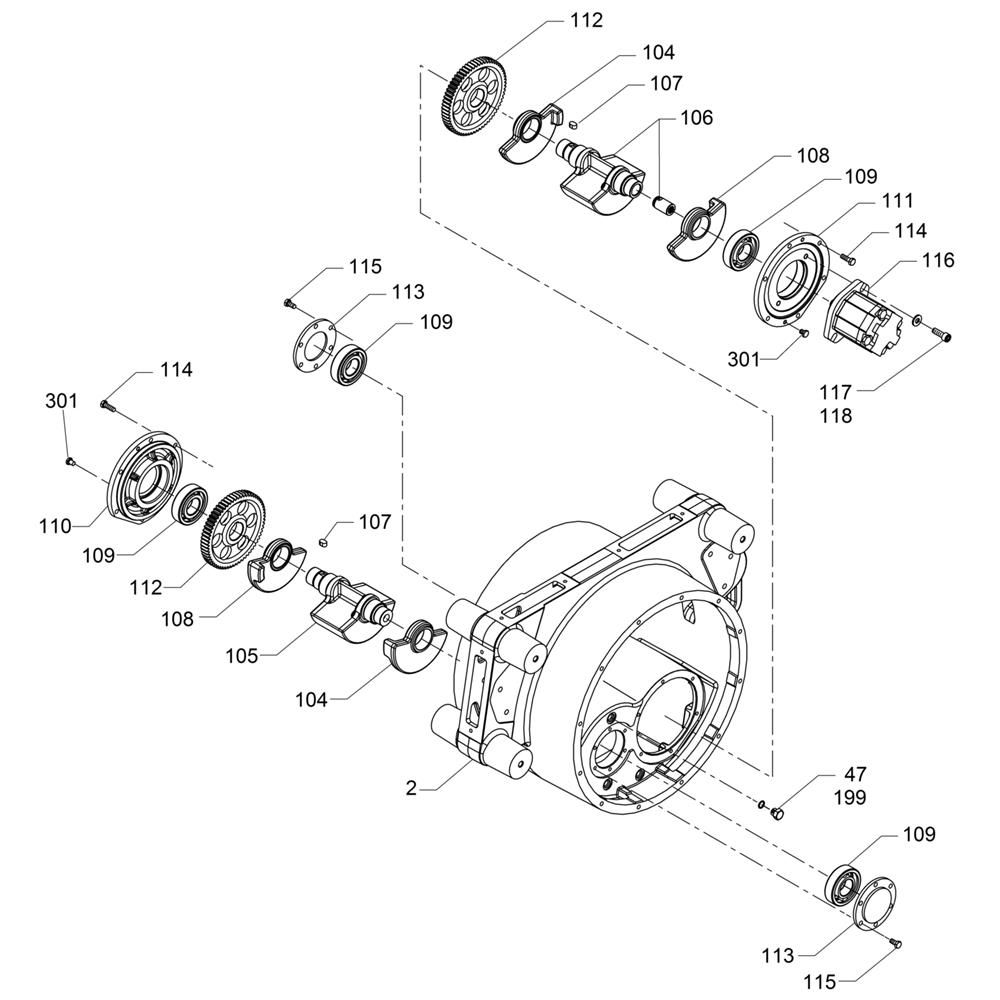
The Exciter Assembly for the Wacker RT560 Trench Roller is crucial for optimal compaction performance. It includes components like shafts, bearings, and seals that work together to produce the necessary vibrations for effective soil compaction. This assembly ensures the trench roller operates efficiently, reducing wear and extending the machine's lifespan. Genuine Wacker Neuson parts guarantee compatibility and reliability.
Reviews
Add a review
Write Your Own Review
Ask a Question
Customer Questions

