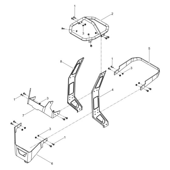
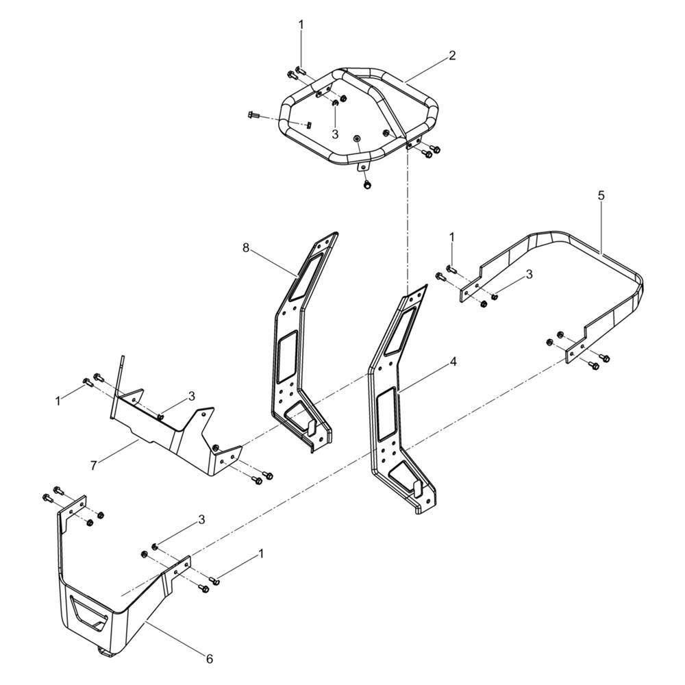
Description
The Frame Assembly for the Wacker ARS90e Plate Compactor is designed to support the machine's structure and ensure stability during operation. This assembly includes key components such as brackets, bolts, and mounts, which are essential for maintaining the compactor's integrity and performance. Suitable for routine maintenance and repairs, it helps prolong the lifespan of the equipment.
Reviews
Add a review
Write Your Own Review
Ask a Question
Customer Questions

