Description
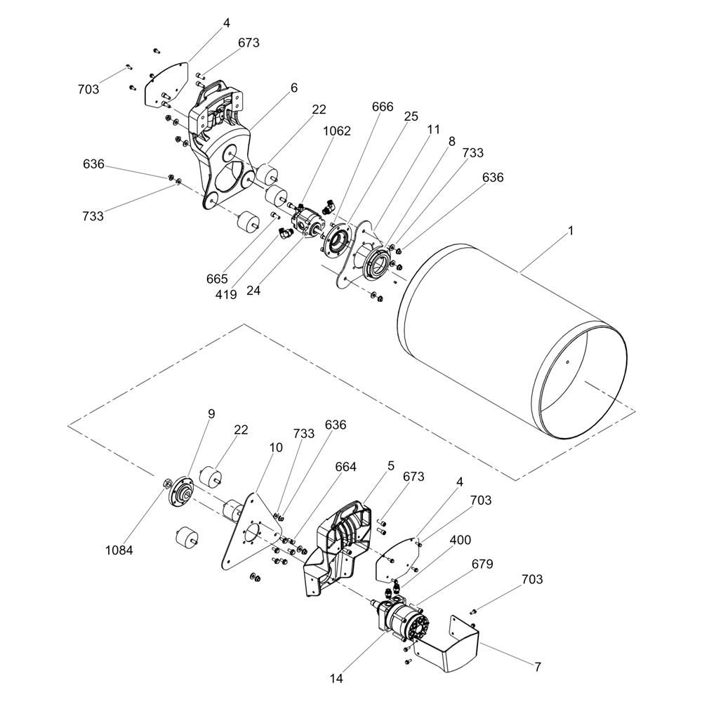
The Front Drum Assembly for the Wacker RD12 Roller is designed to ensure optimal performance and longevity of the roller. This assembly includes key components such as the drum, bearings, and seals, which are essential for smooth operation and effective compaction. Genuine Wacker Neuson parts ensure compatibility and reliability for your tandem roller.
Reviews
Add a review
Write Your Own Review
Ask a Question
Customer Questions

