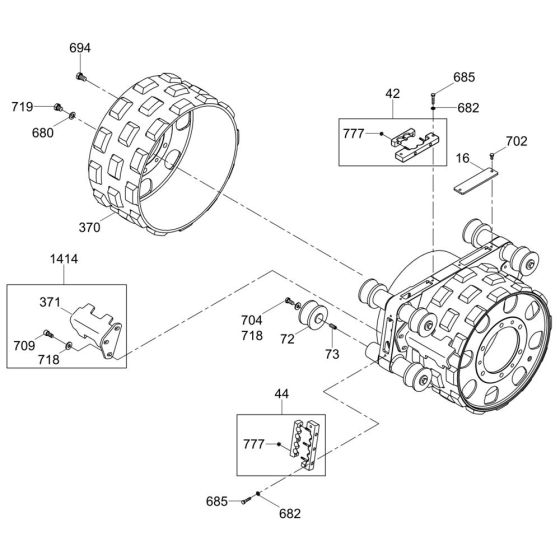
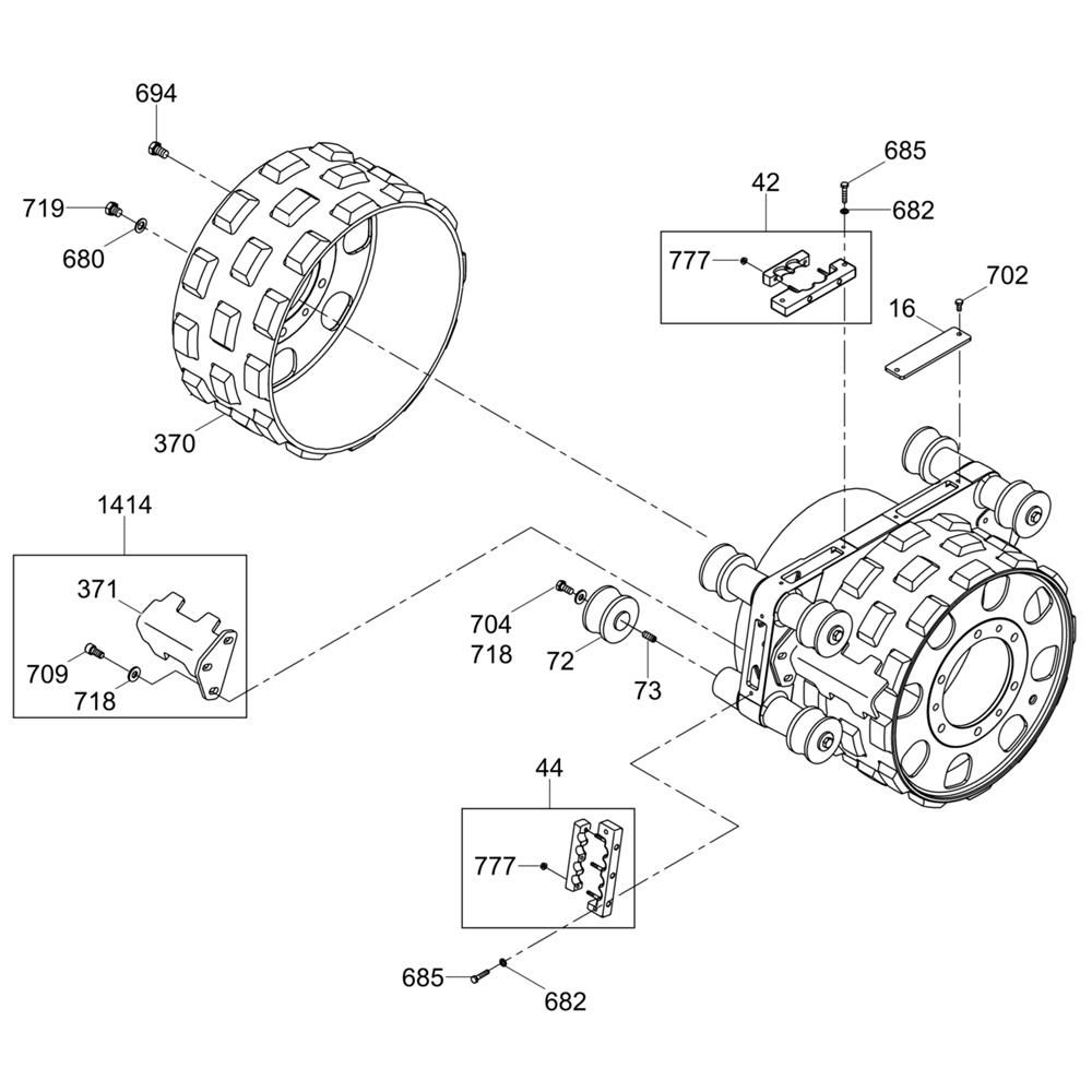
Description
The Front Drum Assembly for the Wacker RT56-SC2 Trench Roller is designed to ensure optimal performance and durability. This assembly includes key components such as rollers, bearings, and seals, which are essential for maintaining the machine's efficiency and reliability. Suitable for heavy-duty applications, it helps in achieving smooth operation and extended service life.
Reviews
Add a review
Write Your Own Review
Ask a Question
Customer Questions

