Description
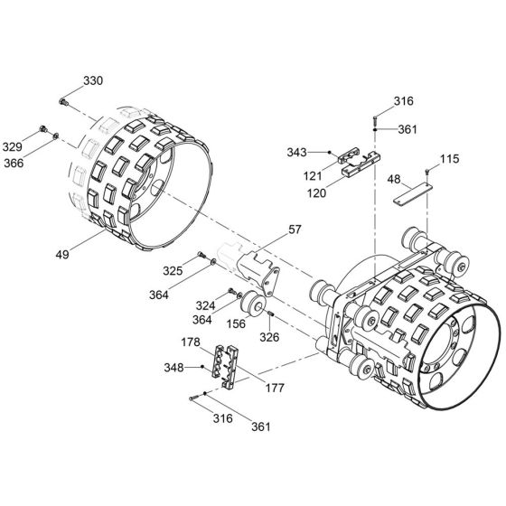
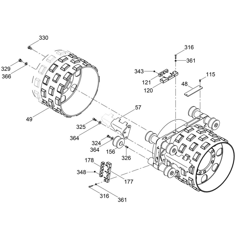
The Front Drum Assembly for the Wacker RT560 Trench Roller is designed to ensure optimal performance and durability. This assembly includes key components such as bearings, seals, and rollers, which are crucial for maintaining the machine's efficiency in compacting soil and other materials. Genuine Wacker Neuson parts ensure compatibility and reliability.
Reviews
Add a review
Write Your Own Review
Ask a Question
Customer Questions

