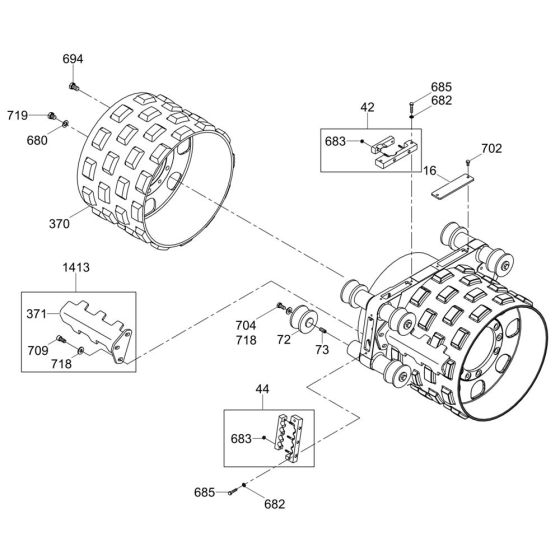
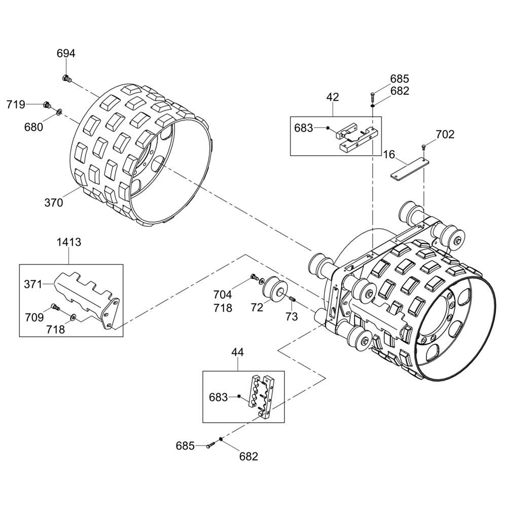
Description
The Front Drum Assembly for the Wacker RT82-SC2 Trench Roller is essential for maintaining optimal performance and stability. This assembly includes key components such as rollers, bearings, and seals, ensuring smooth operation and durability. Designed for the Wacker Neuson Trench Roller, it helps in effective soil compaction and reliable machine function.
Reviews
Add a review
Write Your Own Review
Ask a Question
Customer Questions

