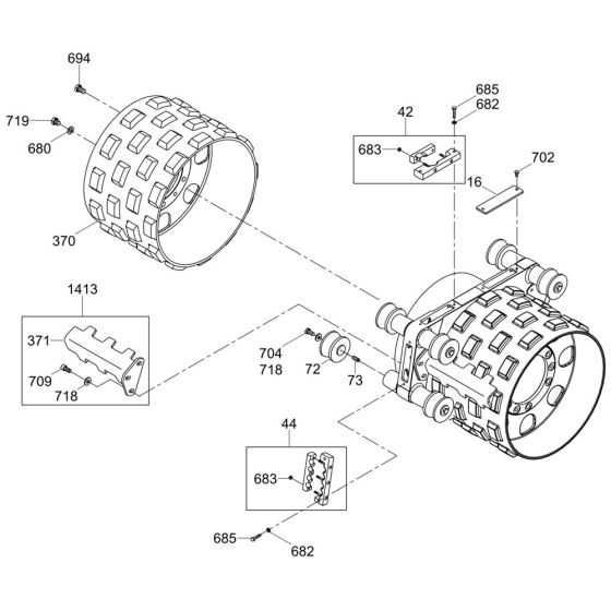
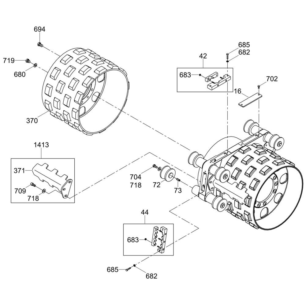
Description
The Front Drum Assembly for the Wacker RTL82-SC3 Trench Roller is crucial for effective soil compaction. This assembly includes components that ensure optimal performance and durability. Designed to withstand demanding conditions, it helps maintain the roller's balance and efficiency. Genuine Wacker Neuson parts ensure compatibility and reliability.
Reviews
Add a review
Write Your Own Review
Ask a Question
Customer Questions

