Description
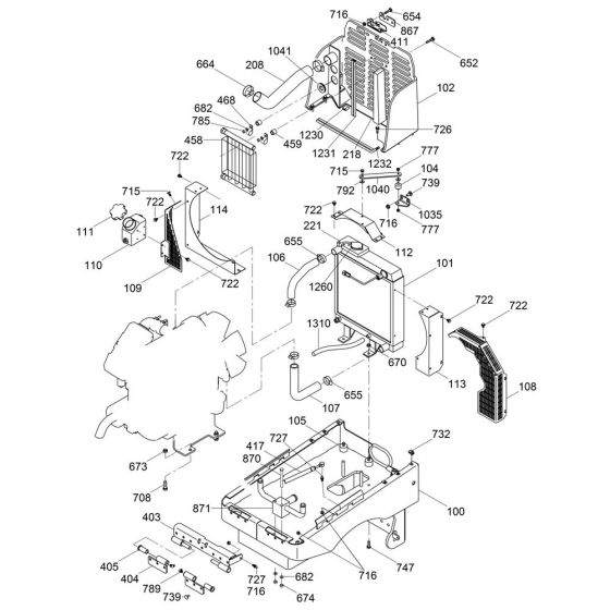
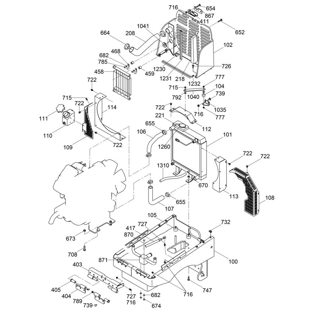
The Front Frame Assembly for the Wacker RT56-SC2 Trench Roller is crucial for maintaining the machine's structural integrity and operational efficiency. This assembly includes essential components such as brackets, mounts, and fasteners, ensuring the roller's stability and performance. Designed for durability, these parts help withstand the demanding conditions of trench compaction tasks.
Reviews
Add a review
Write Your Own Review
Ask a Question
Customer Questions

