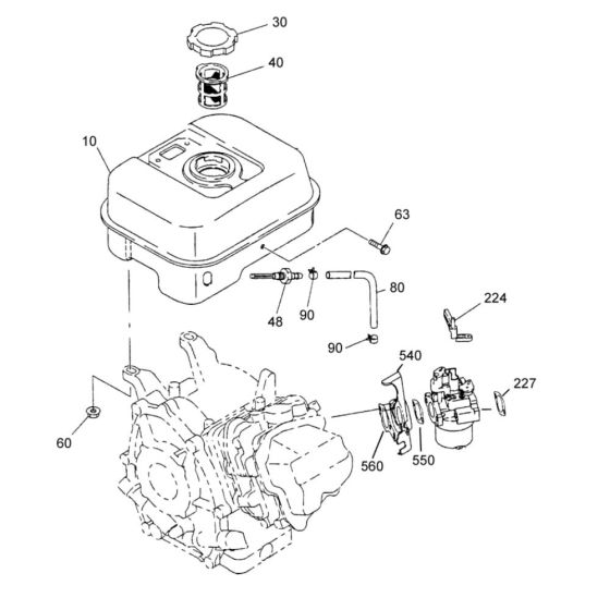
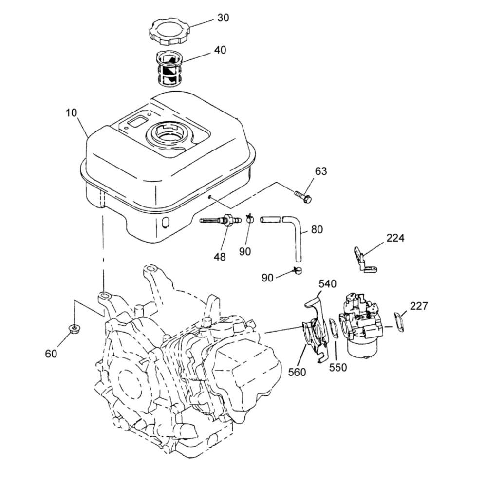
Description
The Fuel Tank Assembly for the Wacker PDI3 Pump is essential for maintaining optimal performance and reliability. It includes components designed to store and supply fuel efficiently, ensuring the pump operates smoothly. This assembly helps protect the engine by providing a consistent fuel flow, reducing the risk of interruptions during operation. Genuine Wacker Neuson parts ensure compatibility and durability.
Reviews
Add a review
Write Your Own Review
Ask a Question
Customer Questions

