Description
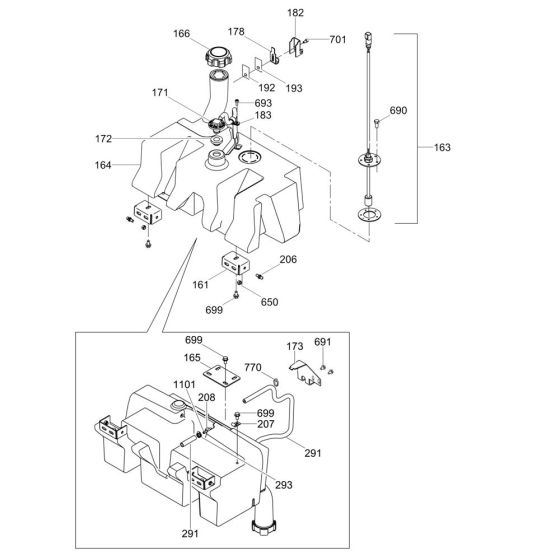
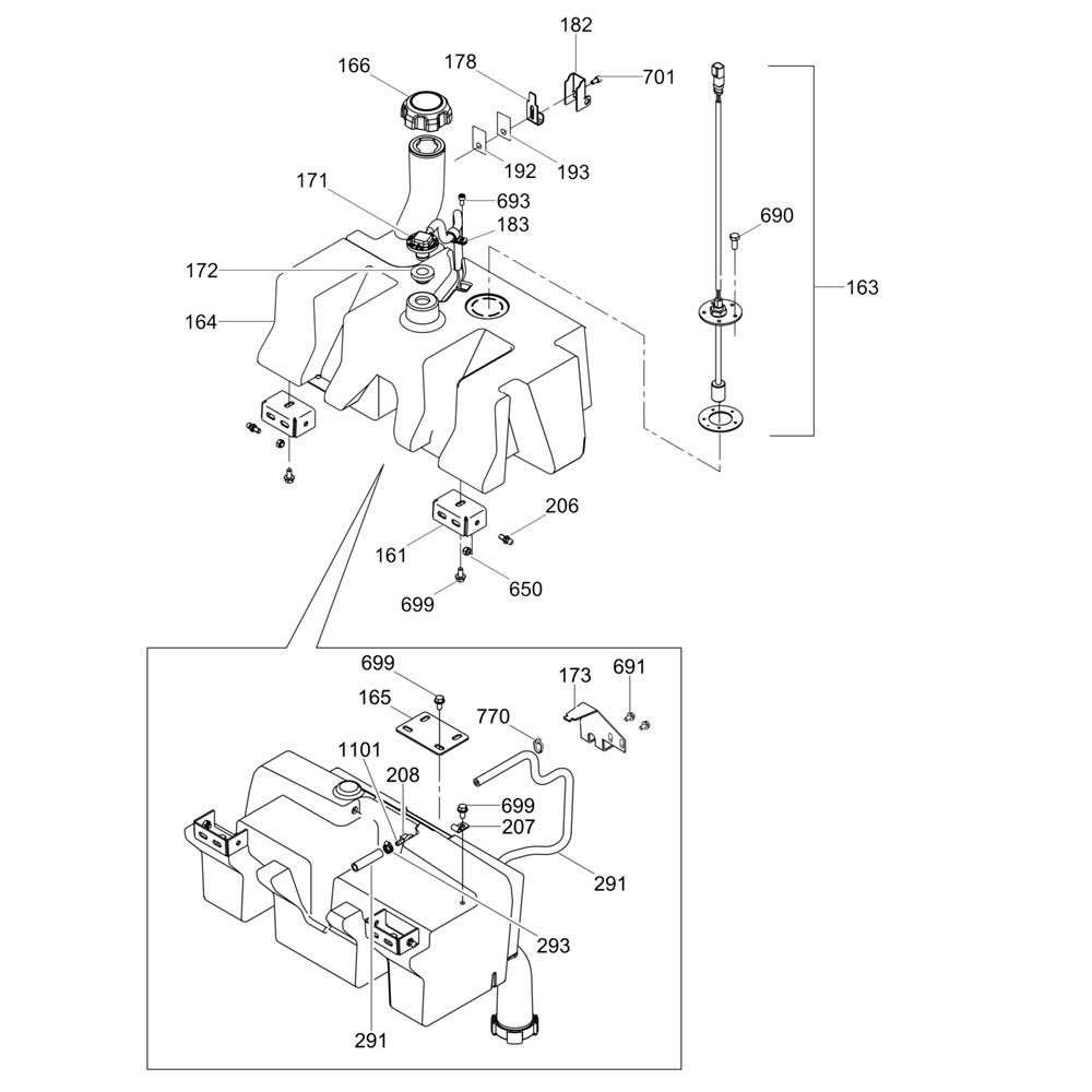
The Fuel Tank Assembly for the Wacker RD12 Roller is designed to ensure optimal fuel storage and delivery, supporting the roller's efficient operation. This assembly includes components such as the fuel tank, cap, and connecting hoses, which are essential for maintaining the roller's performance. Genuine Wacker Neuson parts ensure compatibility and reliability.
Reviews
Add a review
Write Your Own Review
Ask a Question
Customer Questions

