Description
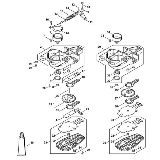
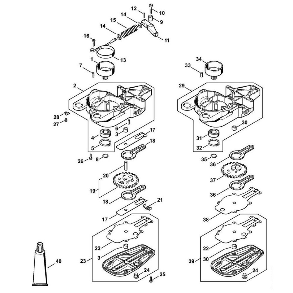
The gear housing for the Stihl HS 85 Hedge Trimmer is a crucial component that ensures the smooth operation of the cutting blades. It houses the gears that transfer power from the engine to the blades, enabling efficient trimming. This genuine Stihl part is designed for durability and reliability, helping to maintain the performance of your hedge trimmer.
Reviews
Add a review
Write Your Own Review
Ask a Question
Customer Questions

