Description
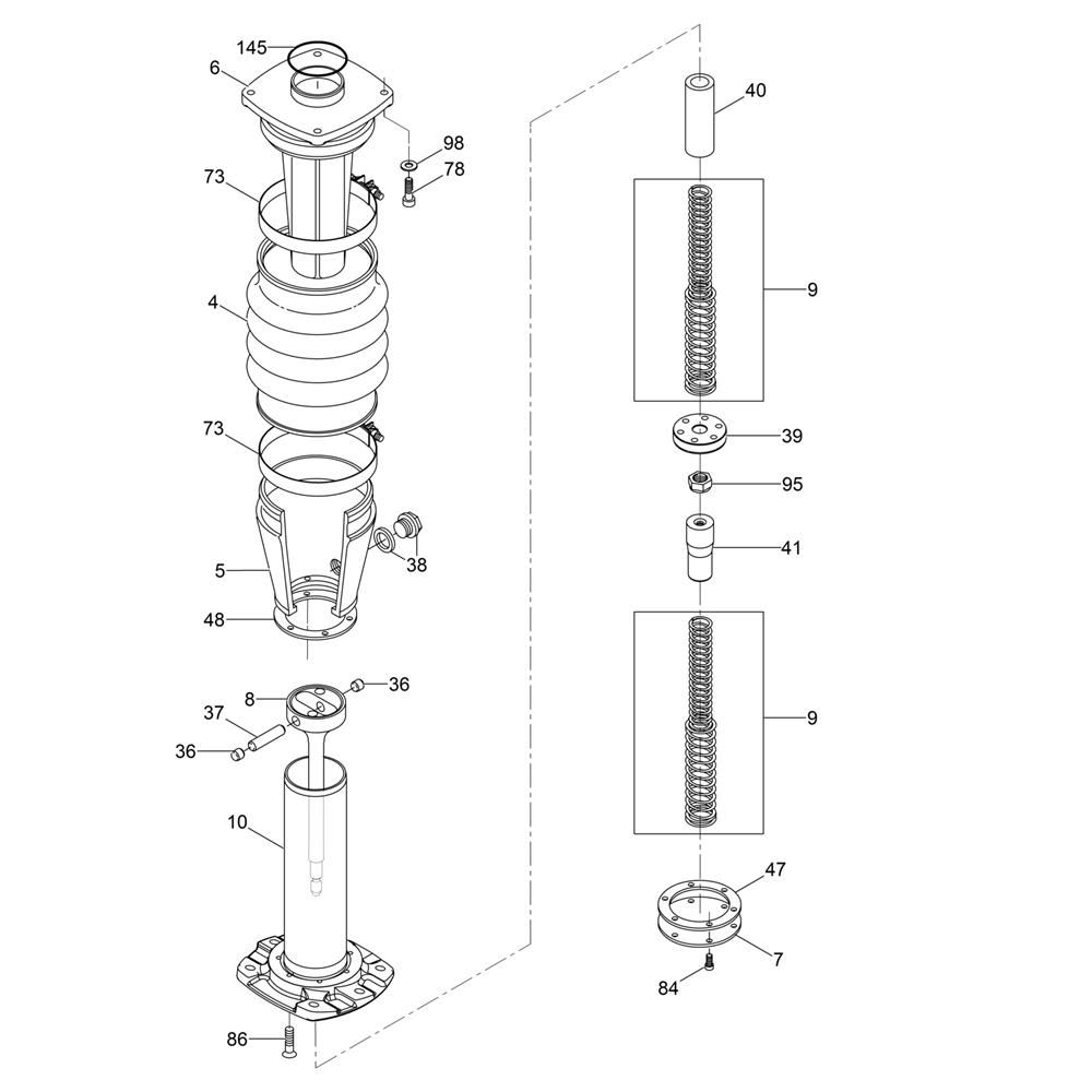
The Guide Cylinder Assembly for the Wacker MS52 Trench Rammer is crucial for maintaining optimal performance. This assembly includes components such as pistons, seals, and springs, ensuring efficient operation and longevity. Designed for the Wacker Neuson range, it supports the machine's functionality by providing stability and precision during trenching tasks.
Reviews
Add a review
Write Your Own Review
Ask a Question
Customer Questions

