Description
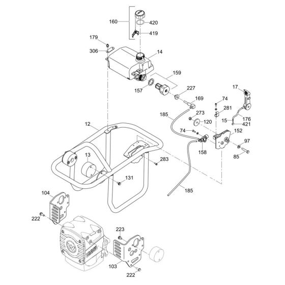
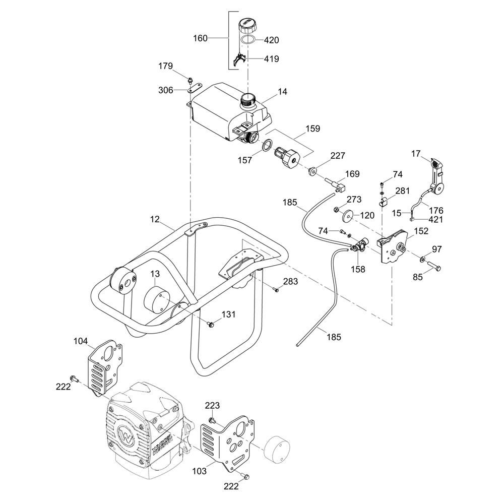
The Guide Handle Assembly for the Wacker MS54 Trench Rammer is essential for precise control and operation. This assembly includes components like grips, brackets, and fasteners, ensuring stability and ease of use during trench compaction tasks. Designed for durability, it supports efficient handling and manoeuvrability in demanding construction environments.
Reviews
Add a review
Write Your Own Review
Ask a Question
Customer Questions

