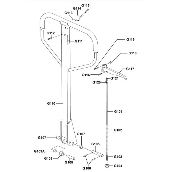
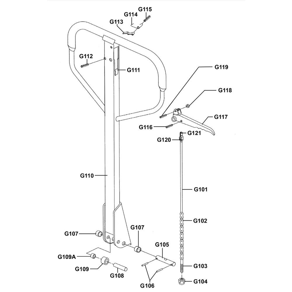
Description
The Handle Assembly for the PT1150SC Pallet Truck is designed to ensure smooth and efficient operation. This assembly includes components such as grips, levers, and springs, which are crucial for manoeuvring and controlling the pallet truck. Genuine parts ensure compatibility and reliability, maintaining the performance of your equipment.
Reviews
Add a review
Write Your Own Review
Ask a Question
Customer Questions

