Description
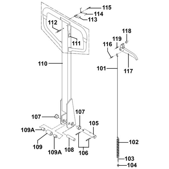
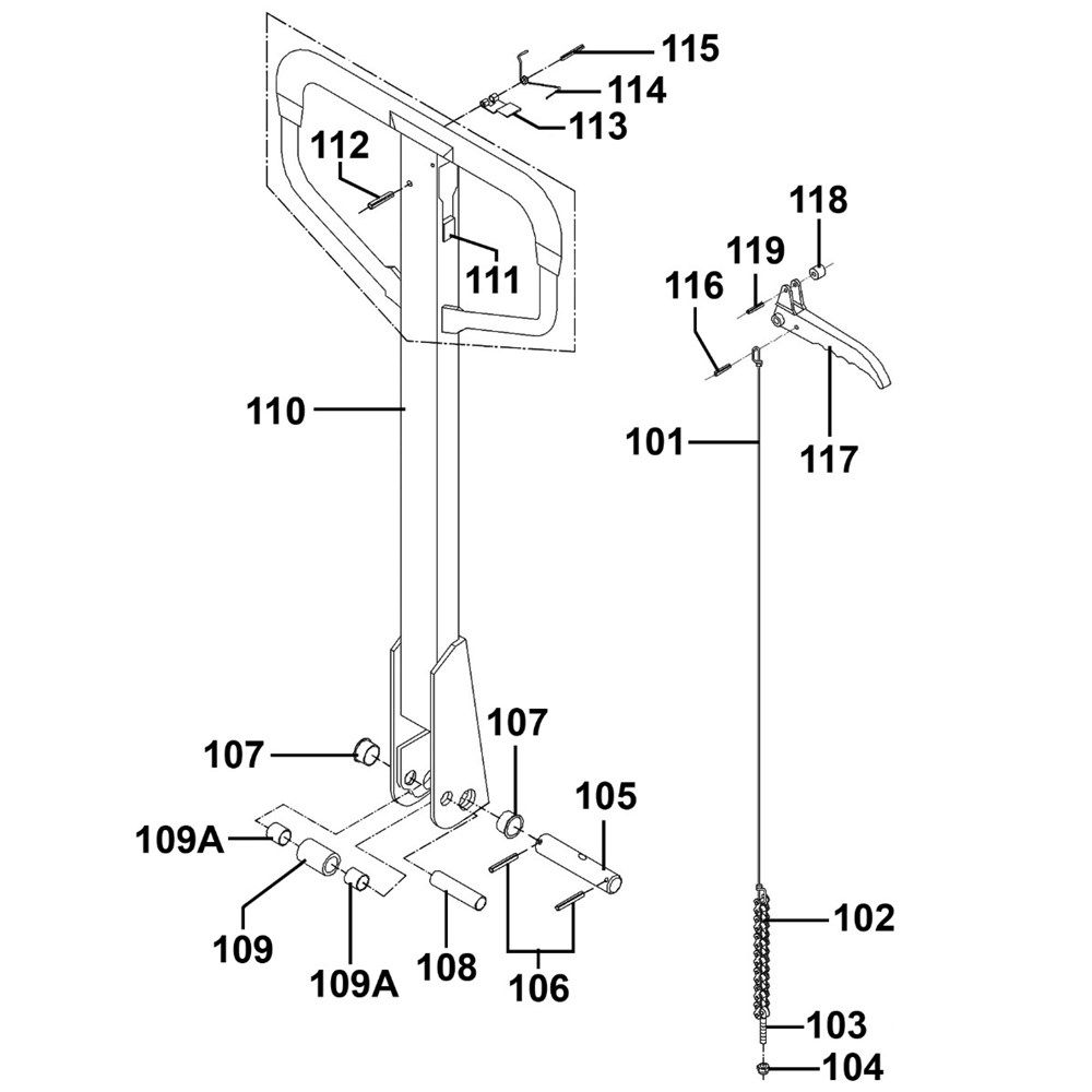
The Handle Assembly for the PT1170H Pallet Truck is designed to ensure smooth and efficient operation. This assembly includes essential components such as grips, levers, and springs, which are crucial for manoeuvring and controlling the pallet truck. Genuine parts ensure compatibility and durability, maintaining the reliability of your equipment.
Reviews
Add a review
Write Your Own Review
Ask a Question
Customer Questions

